ALLEN-BRADLEY

Wyłączniki magnetyczne Ferrogard FRS20 i 21

Wyłączniki FRS20 i FRS21 wyposażone są w dwa zestyki bezpieczne do połączenia z przekaźnikiem bezpieczeństwa. Wyłącznik FRS21 posiada również zestyk sygnałowy do sygnalizacji. Dzięki dużej tolerancji wynoszącej 12 mm dla załączenia i 23 mm dla wyłączenia, wyłączniki można wykorzystywać w większości zastosowań. Wyłączniki są również dostępne ze złączem wtykowym pozwalającym na prosty montaż i wymianę. Wyłącznik magnetyczny Ferrogard nie wymaga specjalnego modułu sterującego i można go podłączyć do dowolnego przekaźnika bezpieczeństwa, np. jednego z przekaźników z serii MSR. Zestyk bezpieczny jest zamknięty, dopóki czujnik i magnes znajdują się blisko siebie (osłona/bramka zamknięta).

Pokaż więcej
  • Tolerancja na niedopasowanie osłon
  • 2 zestyki bezpieczeństwa NC
  • 1 zestyk sygnalizacyjny NO
  • IP 67

Wybrany wariant produktu

Wybrany wariant produktu

Specyfikacja techniczna

B10d 2 x 10^6
Bezpiecznik wyjść 1,6 A
Dopuszczenia CE, cULus
Funkcja styków 2 NC+1 NO
Maks. napięcie styku 250 V
Maks. prąd zestyku 15 VA
Materiał ABS
Max. temperatura pracy 65 °C
Min. temperatura pracy -10 °C
Montaż 4 x M4
MTTFd 385 year
Podłączenie kabla Kabel 2 m
Stopień ochrony IP IP67
Strefa działania: wyłączenie 23 mm
Strefa działania: załączenie 12 mm
Trwałość >10^6
Typ AC
Zgodność z EMC, LVD, MD

Wymiary i połączenia

Two-channel engaging movement f emergency stop. Automatic reset. Powiększ

Dwukanalowe polaczenie wylacznika awaryjnego.
Kasowanie automatyczne.
Nadzorowanie styczników zewnetrznych.

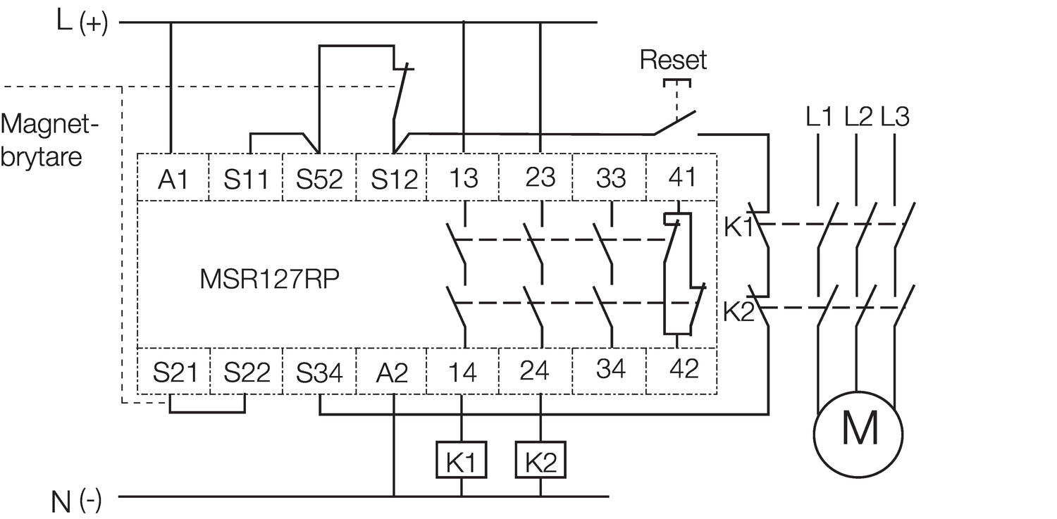
Podlaczenie Ferrogard do MSR127 Powiększ

Polaczenie dwukanalowe wylacznika magnetycznego.
Kasowanie reczne.
Nadzorowanie styczników zewnetrznych.

Two-channel engaging movement of emergency stop. Automatic reset. Powiększ

Dwukanalowe polaczenie wylacznika awaryjnego.
Kasowanie automatyczne.
Nadzorowanie styczników zewnetrznych.

Rysunki techniczne

Opis produktu

Wyłączniki FRS20 i FRS21 wyposażone są w dwa zestyki bezpieczne do połączenia z przekaźnikiem bezpieczeństwa. Wyłącznik FRS21 posiada również zestyk sygnałowy do sygnalizacji. Dzięki dużej tolerancji wynoszącej 12 mm dla załączenia i 23 mm dla wyłączenia, wyłączniki można wykorzystywać w większości zastosowań. Wyłączniki są również dostępne ze złączem wtykowym pozwalającym na prosty montaż i wymianę. Wyłącznik magnetyczny Ferrogard nie wymaga specjalnego modułu sterującego i można go podłączyć do dowolnego przekaźnika bezpieczeństwa, np. jednego z przekaźników z serii MSR. Zestyk bezpieczny jest zamknięty, dopóki czujnik i magnes znajdują się blisko siebie (osłona/bramka zamknięta).

Akcesoria

Powiązane

Nowości

Wielofunkcyjne urządzenie dostępu UGB-KLTM

UGB-KLTM to wielofunkcyjne urządzenie, zapewniające zintegrowaną ochronę i kompleksową kontrolę dostępu. Produkt jest przeznaczony do aplikacji, w których operator ma pełny dostęp do niebezpiecznej strefy.

Nowości

Nowy Skaner laserowy bezpieczeństwa UAM-05LPA z rozszerzoną funkcjonalnością

Popularny skaner laserowy bezpieczeństwa UAM-05 został zmodernizowany i teraz jest dostępny w nowej, ulepszonej wersji – UAM-05LPA. Dzięki zastosowaniu najnowocześniejszych technologii i udoskonalonym funkcjom jest on dostosowany do przyszłych wymagań w automatyce przemysłowej.

Akademia OEM

Systemy kontroli dostępu

Mechaniczne systemy kontroli dostępu są łatwe w instalacji i służą do otwierania włazów i bram w aplikacjach, w których występuje zagrożenie powodowane przez ruchome części maszyn. W tym artykule dowiesz się więcej o zaletach systemów kontroli dostępu.

Nowości

Kurtyny świetlne bezpieczeństwa w przemyśle

Seria SH4 to kompletna rodzina kurtyn świetlnych bezpieczeństwa, które nie tylko spełniają wysokie wymagania dotyczące działania i odporności na warunki otoczenia w przemyśle, ale także przenoszą bezpieczeństwo na nowy poziom.

Nowości

Programowalny sterownik bezpieczeństwa HSC-A100-ENC do aplikacji AGV

HSC-A100-ENC jest programowalnym sterownikiem bezpieczeństwa, który umożliwia sterowanie pracą do 6 skanerów bezpieczeństwa połączonych interfejsem komunikacyjnym. Zawiera interfejsy pozwalające na podłączenie do 4 enkoderów. Posiada 16 cyfrowych wejść bezpieczeństwa, 6 bezpiecznych wyjść cyfrowych, 2 wyjścia przekaźnikowe oraz 2 wyjścia testowe.

Nowości

Safety Netbox – rozproszone We/Wy poprzez Profinet, PROFIsafe lub Ethernet/IP, CIP Safety

Netboxy marki IDEM mają w pełni konfigurowalne We/Wy, które mogą być ustawione jako 3 dwukanałowe wejścia bezpieczne lub wejścia sygnałowe. Modułowe przyciski można skonfigurować poprzez CIP Safety lub PROFIsafe.

Warianty produktu Bezpiecznik wyjść Funkcja styków Maks. napięcie styku Maks. prąd zestyku Podłączenie kabla Typ Cena
1,6 A
2 NC+1 NO
250 V
15 VA
Kabel 2 m
AC
0,8 A
2 NC+1 NO
24 V
0,4 A (10 W)
Kabel 2 m
DC
0,8 A
2 NC
24 V
0,4 A (10 W)
Złącze M12, 4-pin
DC
1,6 A
2 NC
250 V
15 VA
Złącze M12, 4-pin
AC
1,6 A
2 NC+1 NO
250 V
15 VA
Złącze 6-pin
AC
0,8 A
2 NC+1 NO
24 V
0,4 A (10 W)
Złącze 6-pin
DC

Wybrany wariant

Wybierz wariant produktu z listy

Wsparcie techniczne

Jarosław Kalista

Business Area Manager BEZPIECZEŃSTWO

Wsparcie Klienta
Aby uzyskać informacje dotyczące zamówień i dostępności produktów, skontaktuj się z działem obsługi Klienta:
22 863 27 22
Wyślij e-mail
Potrzebujesz pomocy?
Logo

Ustawienia plików cookie w serwisie oemautomatic.pl

Pliki cookie pomagają nam usprawniać serwis i dostosowywać go do Państwa oczekiwań. Wykorzystujemy pliki cookie aby móc obsługiwać dane logowania i oferować spersonalizowane treści. Niektóre pliki cookie są wymagane dla podstawowej funkcjonalności witryny.

Informacje uzyskane za pośrednictwem plików cookie nigdy nie będą przedmiotem sprzedaży.

Mogą Państwo zaakceptować wszystkie pliki cookie lub spersonalizować swoje preferencje dotyczące określonych plików cookie. Mogą Państwo również zmienić ustawienia dotyczące plików cookie w dowolnym momencie, odwiedzając naszą stronę kontaktową.

Niezbędne pliki cookie

Te pliki cookie są niezbędne dla funkcjonowania strony internetowej i nie mogą być wyłączone w naszych systemach. Są one zazwyczaj ustawiane tylko w odpowiedzi na działania podejmowane przez użytkownika, które sprowadzają się do zapytania o usługi, takie jak ustawienie preferencji prywatności, logowanie lub wypełnianie formularzy. Te pliki cookie nie przechowują żadnych danych osobowych.

Pliki cookie dotyczące wydajności

Te pliki cookie umożliwiają nam zliczanie wizyt i źródeł ruchu, dzięki czemu możemy mierzyć i poprawiać wydajność naszej witryny. Pomagają ustalić, które strony są najbardziej i najmniej popularne i zobaczyć, jak odwiedzający poruszają się po stronie. Wszystkie informacje zbierane przez te pliki cookie są agregowane i tym samym anonimowe. Jeśli użytkownik nie zezwoli na stosowanie tych plików cookie, nie będziemy wiedzieli, kiedy odwiedził naszą stronę internetową.

Pliki cookie związane z reklamami i ich odbiorcami

Te pliki cookie mogą być ustawiane przez naszych partnerów reklamowych za pośrednictwem naszej strony internetowej. Mogą one być wykorzystywane przez te firmy do budowania profilu zainteresowań użytkownika i wyświetlania odpowiednich reklam na innych stronach. Nie przechowują one bezpośrednio danych osobowych, lecz opierają się na jednoznacznej identyfikacji przeglądarki i sprzętu internetowego. Jeśli użytkownik nie zezwoli na stosowanie tych plików cookie, doświadcza mniej ukierunkowanych reklam.